一、事件发生的背景
2025年,特朗普对伊朗发动了奇袭。2025年12月初,王思宇对我的网站服务器发动了奇袭,手法有些相似。
之前,我和王思宇团队只是在qq群对骂,然后他们投诉我,将我踢出qq群,每天很热闹。然后,我计划做一个网站,做之前通知了王思宇,开玩笑的说网站上线后邀请他当网站的测试员,结果没想到这个家伙还真的来了,还带了重量级人物。
自从我的网站于2025年11月18日上线后,一段时间,没了声音,没人搭理我了,王思宇派人对我说,“我做的网站对王思宇没有影响,如果做出过分的事情,会到法院起诉我”。这让我有些失落,但是很快我调整了过来,我知道这也是王思宇的诡计。我每天循序渐进的开发着网站,我原以为也只是对王思宇的名声会有一些轻微的影响,然而,出人意料的是,到了2025年12月初,王思宇竟然派黑客奇袭了我的网站。
二、网站服务器CPU飙升到99%

我的网站服务器设置了告警。这张图显示的是我网站服务器告警次数,告警原因是CPU占用达到99%。告警日期从2025年12月5日持续到2025年12月16日。中间从12月10日到12月14日没有告警的原因,是黑客通过技术手段屏蔽了告警,让我不能立刻察觉,黑客趁机进行破坏。



这三张图片显示的是这一段时间的告警列表,告警原因是CPU占用超过90%。我的应对策略是每次用服务器快照进行还原系统。
三、真凶浮出水面
在2025年12月16日我调整了应对策略,将linux的新增的文件权限,默认设置为只读,不可编辑也不可执行,这些新增的病毒文件执行不了,CPU也就不会飙升。于是在12月17日,真凶浮出水面。


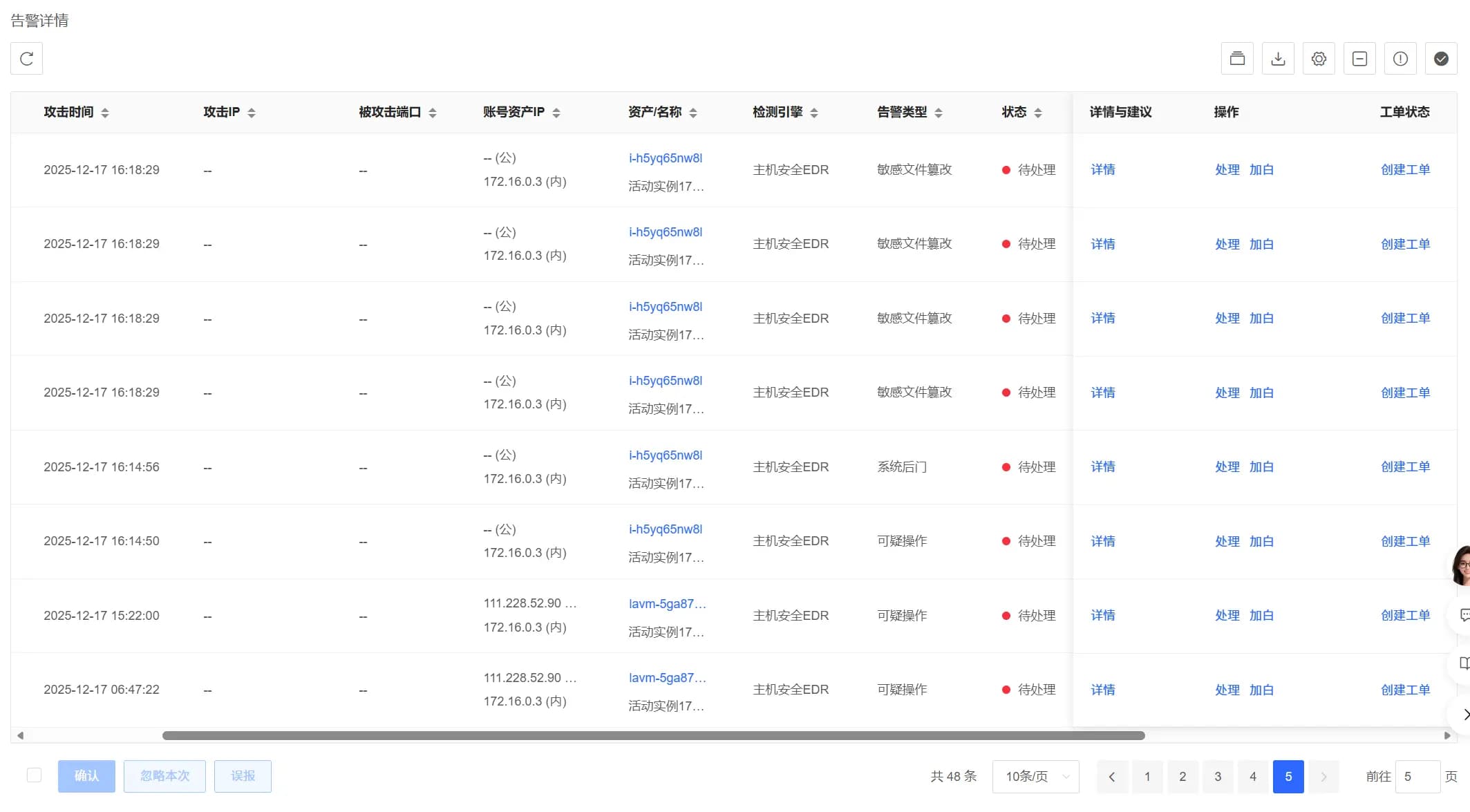
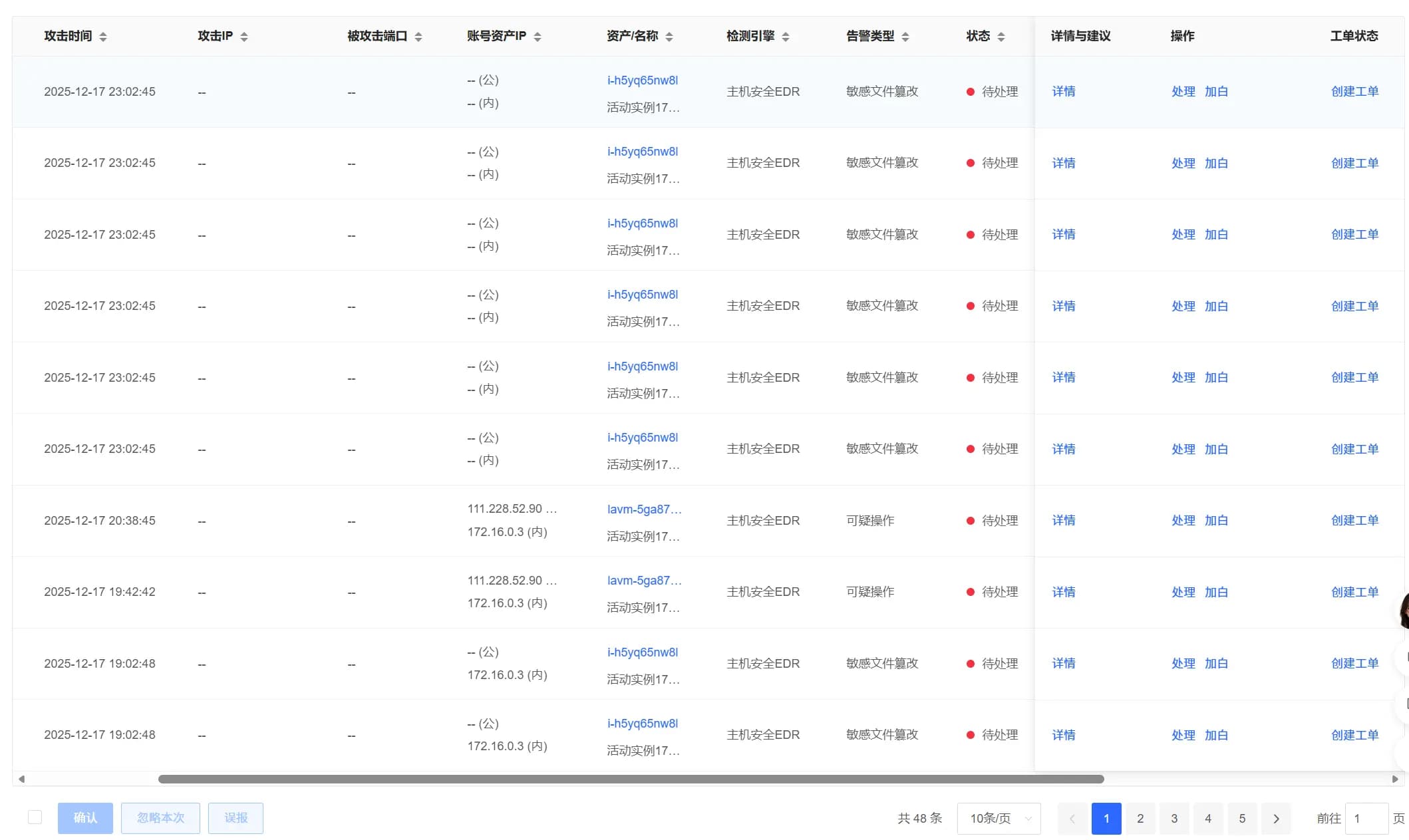
这两张图片显示,黑客在2025年12月17日一天时间,对我的服务器攻击了50次左右,从早上6点多持续到晚上11点多。攻击内容大致为可疑操作,系统后门,和敏感文件篡改。

这张图显示黑客正在用wget或者curl来下载脚本到我的网站服务器上。

这张图显示“chmod 777”, 看到没?缺德不?黑客正在将脚本的权限改为777,也就是完全控制权限,可读可写可执行,意图强制运行脚本。

这张图显示,黑客正在将他的操作改为不记录系统日志,让我无法察觉。

这张图显示“/etc/shadow”, 看到没?黑客正在修改我的linux系统负责存储密码的文件,意图拿到我网站服务器的密码,完全控制我的网站服务器。
四、事件的解决
最后,我调查出黑客攻击的入口。我原先以为是我的代码写的有问题,后来我发现是我的依赖包有漏洞,就是说我引入了别人开发的包,别人开发的包有漏洞。node_modules中的有个依赖包叫做drizzle,这个包是用来连接数据库的,存在被攻击的漏洞,我将它卸载掉,改为了别的依赖包,问题得以解决。从2025年12月18日开始,网站一切恢复正常。以防万一,我为此加了几层保险。现在的网站是非常可靠的。
五、王思宇的目的
从这个事件来看,王思宇与黑客早有勾结,这次奇袭也是出乎意料的,可见王思宇的重视程度。我2025年11月18日上线的是静态网页,随着我将静态网页改为动态网页的过程中,被黑客抓到了机会,对我网站服务器进行了攻击,这名黑客并不是菜鸟,水平挺高,我与他斗争的过程中,废了很大劲才得以解决。王思宇的目的,一是瘫痪我网站服务器,二是篡改我网页的内容,三是通过网站服务器入侵我的个人电脑,盗取我的手机号、照片、家庭住址,网络账号密码,四是对我个人电脑中的内容进行破坏。 最后事件已经结束了,期待我的网站服务器能够稳定运行。王思宇又开始了新的计谋,通过对我进行诱导,然后恶意投诉,让官方封禁我的网站,希望大家支持我,给予我帮助,不要让他的计谋得逞。
